曾经有一个女孩,文静,乖巧,美丽。每次下课,我都会上一次厕所,只为经过她教室的时候,能多看她一眼。。。。。从此,有她会在的地方,一般能看到我的影子。
后来的后来,我一不小心踏进了电商这个圈子,并且做了钻展,恩,我非常自信自己能做好,只是因为我女朋友对我说了一句话:可以把你当初追我的劲道拿出来啊。。。
亲爱的小伙伴,当套路来了,做钻展其实也就没那么难了,今天给大家分享,如何深入了解我们的店铺人群画像,从人群用户的角度出发,结合我们日常投放钻展,降低我们钻展的PPC ,提升我们钻展的ROI 。
有些小伙伴,做了5年电商,却从来都不知道自己的商品卖给了哪一类人,学生?白领?还是医护人员?每一年过的都非常的挣扎,那是因为他的老客访客占比从来都没有超过15%,从来不会对自己的老客去做深度营销,属于纯卖货形式。
之前和一个女装日销8W的卖家之间对话,虽然日销还可以,但是过的非常挣扎。基本靠爆款维持店铺。
对于非标类目,全店只靠5-6个款在支撑销售费是非常不健康的,再来看另外一家店铺:

他的品类占比就显得非常均匀,非常健康,全店的商品连带率能达到1.8,全店的动销率也达到90%,甚至,钻展的3/7/15天,ROI倍数都能达到2,而呈现出来的数据结果是基于你对你自己的店铺人群有一个很深的认知,然后,你再去做一些店铺布局和规划。
那我们怎么来找店铺人群画像呢?
1.打开生意参谋-经营分析-访客分析-访客分布
在地域这边我们直接能看到自己店铺的,访客和销售TOP10城市

最近30天数据为维度,我会按照自己的习惯把他源数据下载下来,自己记录在表格里面。
天猫等级,性别,新老访客也是一样,记录在表格里面。


2.打开,访客对比,
消费层级

年龄

最近30天数据为维度,把他们记录在表格里面。
3.打开交易构成,把类目构成取TOP 5-10,(根据你是非标还是标类商家,标类5个,非标10个),按照30天的数据维度,记录在表格里面。
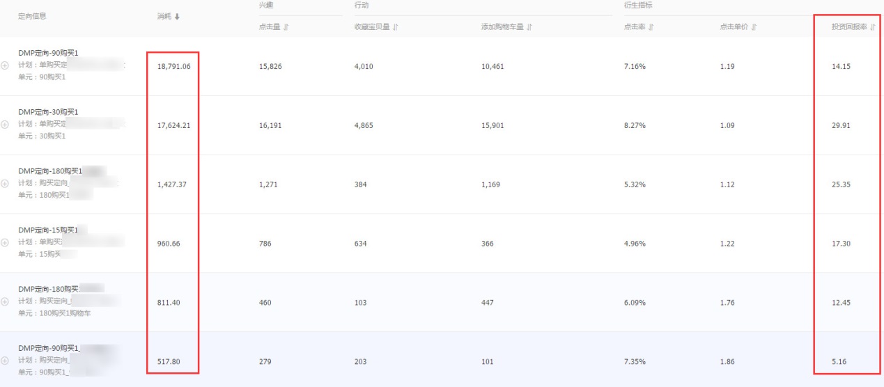
4.本次分享的重点,如果想要拉的更细一点,可以在DMP标签里面去拉取。
打开https://dmp.taobao.com/ 开通DMP对钻展投放花费有一定的门槛,需最近30天消耗超过3000才能申请开通。
先拉一个最近老客标签,在用户轨迹-营销关系,如果店铺人群数比较少,可以选择认知客户(近180天内有店铺访问、收藏、加入购物车,但是没有购买行为的用户群体。)如果店铺人群数比较多,可以选择成交用户(180天内在本店铺成功购买过宝贝的人群)。

再拉一个基本信息标签的教育程度,用户职业,甚至于用户有没孩子,用户有没结婚,用户开什么车我们都是能够把数据给拉出来的。同样把他们的数据信息记录在表格里面。
最后的表格呈现,



说明这是一家女性为主,年龄26-35岁,已婚已孕,有知识文化,白领,分布在一二线城市居多,并且,喜欢买新款,喜欢搭配,对这家店铺有比较高的认知,粘性比较强。
当我们掌握了这些客户信息,在我们日常投放钻展的时候,思路就非常非常的清晰
1. 我们日销投放钻展的预算有限,完全可以只投放转化比较好的TOP10省份。
2. 在定向的选择上面,因为客户的粘性比较好,当我们在上新的时候,我们对于30天有购买的,7天15天有收藏的,就可以加大预算去投放。

3. 在作图文案的选择上,我们就要抓住这些人群的需求,是属于享受生活型,不会纯粹的追求低价,更多会注重款式和品质,主观性非常强,第一眼看重了就喜欢,哪怕是预售7-15天,都愿意等,又非常冲动型,看到喜欢的,只喜欢做一个动作就是拍下付款。
通过大量的文案作图测试,对于这些人群特征的,往往有调性的文案会比折扣的文案点击率会更好,
下面分享几张我日常点击率比较好的图片。


由此可见,了解自己店铺的人群画像是非常重要的一步,只有了解自己的用户人群,当我们在选择定向的时候,可以结合我们的日销和活动,相对应来分配我们的新潜老客定向,也只有了解我们的用户人群,我们才能做出高点击率的图片,从而来降低我们整体钻展的PPC,提升我们的ROI,说不定,我们离脱单也就不远了哈,今天的分享就到这里,非常感谢。
贯穿电商运营的各种
资源渠道一应俱全
一站式电商服务的平台
全方位为店铺保驾护航
行业领先团队
创造专业价值
数家分部
专注行业多年
Copyright © 2022 青岛易亚网络管理服务有限公司 备案号:鲁ICP备10207421号-2 地区站点
网站地图